lvfeiep.com绿飞环保
服务执线:+86-13612615610
中文简体|English
欢迎查询登录注册
  • 关于绿飞

    企业介绍企业文化企业架构企业荣誉联系我们

  • 服务

    废旧电子产品回收废旧铅酸电池回收废旧新能源电池回收废旧电子配件回收报废机动车回收废旧三元催化器回收工业垃圾回收分类涉密涉敏物品回收销毁

  • 行业方案

    企业绿色循环经济产业创新解决方案工业园区低碳环保管家服务方案企业涉密类物料安全销毁解决方案仓储物流运输企业增值服务方案通讯设备行业回收销毁解决方案半导体封装企业危废树脂处置解决方案芯片企业芯片安全销毁解决方案汽车电子报废汽车解决方案锂电池制造企业一体化废物再生解决方案

  • 自助环保
  • 新闻动态

    新闻动态

  • 服务网点

服务BUSINESS

废旧电子产品回收
废旧铅酸电池回收
废旧新能源电池回收
废旧电子配件回收
报废机动车回收
废旧三元催化器回收
工业垃圾回收分类
涉密涉敏物品回收销毁

报废机动车回收

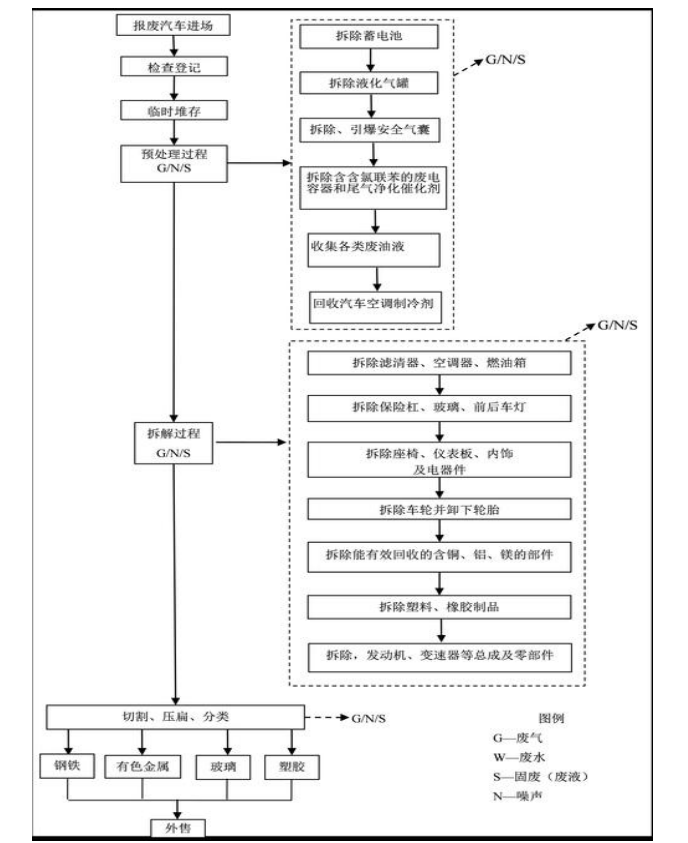
您现在的位置:首 页 > 服务 > 报废机动车回收

公司具有商务部门颁发的《报废机动车回收拆解企业资质认定证书》,具有报废汽车、二轮\三轮摩托车、电动自行车、共享自行车回收拆解处理设备及场地。提供合法合规的回收拆解后,免费为车主提供办理《报废机动车回收证明》和《机动车注销证明书》等手续。回收处理产品包括:报废汽车、二轮\三轮摩托车、电动自行车、共享自行车及其配件等;可以提供同类资产报废回收处理服务,及同类库存、残次品销毁服务。

 

  • 深圳

    地址:深圳市宝安区沙井街道 21号D
    电话:13612615610

  • 佛山

    地址:广东省佛山市南海区石龙北路万利商务中心409
    电话:13612615610

  • 广州

    地址:广东省广州市白云区钟落潭竹料中和路304
    电话:13612615610

  • 江门

    地址:广东省江门市江海区高新区高新西路191号
    电话:13612615610

  • 香港

    地址:香港元朗流浮山鳳降村雞伯嶺路
    电话:13612615610

© 版权所有:广东绿飞环保科技有限公司  www.lvfeiep.com  粤ICP备2023054488号